如何让你的微型隔膜泵(气泵、水泵、真空泵)更耐用?

微型隔膜泵是微型泵的一个种类,它的工作原理是电机带动偏心轮,从而驱动隔膜做往复运动,使泵腔的容积往复变化,将流体不断地吸入和压出。根据用途不同,常又被称为微型气泵、微型水泵等。微型隔膜泵效率高、运动机构与输送介质完全隔离、非动密封,无泄漏、体积小、重量轻、具有自吸能力、不怕空转、无需润滑保养、噪音低。它作为微型水泵使用时,无需灌泵,既能抽气又能抽水,不怕干转。
微型隔膜泵的特点
1、压力大,某些情况下甚至可以达到五六千克,而相比较而言,普通产品则只有其六分之一或五分之一。
2、节能,微型隔膜泵具有节能的功效,使用中可以清楚地看到,微型隔膜泵的耗电量比较小,只有一到两安,这比普通产品的耗电量要少许多。
3、智能设计,在设计方面,微型隔膜泵相对比较智能,在通电并打开开关后,如果此时药液开关打开,则工作正常运行,如果其关闭,则水泵可自行减压促成回流,因此减少了对出水管可能造成的压力,也不至于对软管产生影响,如果此时继续打开药液的开关,则正常运行至原来的压力。
4、寿命长,寿命问题是许多泵体的软肋,由于性能或用材等方面的不足,导致泵体寿命短的产品大有所在,而微型隔膜泵则具有较长时间的寿命,电机寿命甚至能够达到10年以上,普通产品远远达不到10年之久,当然,期间需要定期进行检修,以保证设备正常运行。
5、高性价比,由于微型隔膜泵的运作相对比较平稳,且工作时间长,可以长时间连续功运转,在较强的压力下所经过的电流也比较小,并且耐高温,耐腐蚀,噪音相对较低,泵体内部的合理结构使得泵体本身磨损度降低。

苏州维本工程塑料Wintone Z33耐磨静音齿轮专用工程塑料,在微型隔膜泵偏心轮以及各类微型水泵、气泵、真空泵偏心轮的应用上,与传统的POM材料相比,Z33具有更优异的耐磨耐疲劳性和静音性,可以帮助解决POM偏心轮在使用一段时间后容易磨损被顶穿的问题,同时有效降低传动噪音,另外Z33的耐酸碱、耐热水和蒸汽、耐盐水等优异的耐化学性,也大大拓宽了微型隔膜泵和各类微型泵的应用场景。

在各类减速电机塑胶齿轮的应用上,苏州维本工程塑料Wintone Z33耐磨静音齿轮专用工程塑料,可以帮助您解决以下问题:
1.POM和PA66齿轮噪音比较大,耐磨耐疲劳性不够的问题。
2.PA12和TPEE齿轮,太软扭矩太小,耐磨性不够,在60摄氏度以上时,扭力下降比较快。
3.POM和PA66齿轮的耐腐蚀性不够,以及断齿的问题。POM齿轮和注塑件易磨损粉屑化的问题。
4.尼龙46齿轮的降噪性不够,尺寸受水份影响比较大。
Z33材料作为一款强韧耐磨型工程塑料,在齿轮应用上最显著的特点是:耐磨、静音、耐腐蚀、强韧且不受水份影响。Z33材料的典型成功应用为:微小型减速齿轮箱、电动推杆、汽车转向系统EPS齿轮、按摩器齿轮、汽油机凸轮、电助力自行车中置电机齿轮、电动剃须刀等等传动齿轮。

微型隔膜泵的噪音来源于什么?主要是两个部分:电机和传动机构。
微型隔膜泵的噪音来源之一:电机
电动机按工作电源种类划分:可分为直流电机和交流电机。直流电动机按结构及工作原理可划分:无刷直流电动机和有刷直流电动机。有刷直流电动机可划分:永磁直流电动机和电磁直流电动机。电磁直流电动机划分:串励直流电动机、并励直流电动机、他励直流电动机和复励直流电动机。永磁直流电动机划分:稀土永磁直流电动机、铁氧体永磁直流电动机和铝镍钴永磁直流电动机。
其中交流电机还可分:同步电机和异步电机。同步电机可划分:永磁同步电动机、磁阻同步电动机和磁滞同步电动机。异步电机可划分:感应电动机和交流换向器电动机。感应电动机可划分:三相异步电动机、单相异步电动机和罩极异步电动机等。交流换向器电动机可划分:单相串励电动机、交直流两用电动机和推斥电动机。
微型隔膜泵电机的噪音
电机运转时通常有多种噪声源同时并存,不同的噪声是由电机各种零部件产生的。
1、电机的电磁噪声
电磁噪声主要是由在时间和空间上作变化,并由电机各部分之间作用的磁拉力引起的。气隙空间的磁场是一个旋转力波,它的径向力波使定子和转子发生径向变形和周期性振动,是形成噪声的声源。其声波大部分是由定子和其它部件振动辐射到周围空间,成为“气载噪声”,而电磁噪声大部分属于“气载噪声”。还有很多属于设计和故障原因,也会造成电磁噪声的增加,比如:磁拉力不平衡;铁心饱和的影响;开口槽的影响;磁通振荡产生噪声;气隙动态偏心;晶闸管电源中的脉动分量;电网中的谐波分量;异步电动机断条;直流电动机电枢和主极匝间短路;交流电动机铁心压装不紧;装配气隙不均等等。
所以,适当降低电机的气隙磁通密度、增大气隙,设计时如采用电枢斜槽,直流电动机的不均匀气隙和交流电动机的磁性槽楔,都是降低齿谐波和电磁噪声的有效措施。增加机座刚度,可以减少由于定、转子气隙场中基波旋转力产生的振动和噪声。提高气隙装配时的均匀度和铁心的叠装质量,都有利于降低电磁噪声。
2、电机的空气动力噪声
电机的空气动力噪声有涡流噪声和笛鸣噪声两种。
涡流噪声主要是由转子和风扇引起的冷却空气湍流在旋转表面交替出现涡流引起的。而笛鸣噪声是通过压缩空气,或空气在固定障碍物上擦过而产生的。电机内的笛鸣噪声则主要是径向通风沟引起的。笛鸣噪声是随转动部件和固定部件之间间隙的减小而增强。所以采用密封的隔音罩,将噪声“密封”在隔音罩内,增大转动部件和固定部件之间的间隙,改进导风罩形状,采用不均匀分布和长度不等距的风叶是降低笛鸣噪声的有效办法。另外,降低转子表面圆周速度,减小电机的表面积和转子表面粗糙度三个参数,也可以降低空气动力噪声。
3、电机换向噪声
换向噪声,也称为电刷噪声。在有滑环和换向器的电机中,换向噪声是不可避免的,有时会成为一个主要的噪声源。换向噪声由两种原因引起:
摩擦噪声
电刷与滑环和换向器的滑动连接处,必然产生摩擦噪声。摩擦噪声的大小与滑环和换向器表面状态、电刷的摩擦系数、空气的绝对湿度和电刷压力有关。所以,降低摩擦噪声的方法有:提高滑环、换向器的工作表面光洁度和圆度;保证空气的绝对湿度不低于5g/m3;清洁电刷表面;电刷材料硬度不能过大;适当的缩小换向器直径。
撞击噪声
这是由于换向片之间都有一个云母沟,由于换向器变形,云母沟下刻和倒棱工艺不好,使电刷在电动机旋转时往往会撞击换向片,使换向片和降低这种噪声。
4、电机的机械噪声
旋转电机噪声主要是机械噪声,大型、高速电机易产生这种噪声。
转子动平衡不好是产生机械振动和机械噪声最常见的原因之一。提高转子动平衡精度则可以有效降低这种噪声。安装、调整不良,定、转子部件固有频率和转速频率一致时也会产生机械噪声。当电机装有端罩式风罩时,罩子往往被电动机的振动所摇撼,并发生振动,也会产生噪声。这种情况下,电机定子的振动往往是端罩或风罩的激励源,要减小这种振动噪声,措施是增大端盖和罩子的动态刚度。在端罩和定子的结合处加设吸振材料,比如毛毡等,都可减小定子的振动幅值。

5、电机的负载噪声
这种噪声产生的主要原因是制造工差、装配间隙,及运行、运输、安装过程中造成工作表面损伤和电腐蚀产生损伤,都会使轴承运行不平衡和发生不规则的撞击。比如,轴表面粗糙度达不到要求,轴承孔圆度超差(定子或端盖),轴承孔材料差,电枢芯轴伸端轻微划伤等。降噪对策有,轴承加工过程和入厂检验时,一定要加强对轴承内壁光滑度、圆度、表面粗糙度的测试检查;确认轴承内壁油孔或材质是否符合要求,轴承孔圆度是否超差;仔细检查轴头部,确认端盖侧轴头是否合格;串轴叠铆时,轴伸端是否有划伤。
微型隔膜泵的噪音来源之二:传动机构,对噪音和耐疲劳寿命影响比较大的是偏心轮和隔膜片。
隔膜泵的主要部件之一就是它的隔膜片,隔膜片分为复合隔膜、橡胶隔膜和四氟化隔膜三大系列,可选择各种材料。因为隔膜泵目前在市场上的需求增长很快,但还是有不少公司对隔膜泵的核心组件之一隔膜片使用的材料了解并不充分。特别是在聚四氟乙烯和聚全氟乙烯之间,有些厂家认为是四氟乙烯性能比较好的隔膜片。实际上,聚全氟乙烯是抗腐蚀的理想隔膜片。隔膜片是隔膜泵的易损件,因此我们要格外重视它的材料的选择。
隔膜泵的隔膜片的材质选择主要取决于密封液体的性质,压力和温度等。膜片的整体设计应考虑其运动方式、制造条件、结构空间限制等因素。可以在易燃、易爆环境中使用铝合金气动隔膜泵,因为隔膜泵对流体的搅动较小,所以其流体不会过热,而且成本较低。
四氟隔膜是一种经济的耐酸碱隔膜,颜色为乳白色,适合输送高温的腐蚀性液体。

聚四氟乙烯隔膜:具有良好的耐腐蚀性,除了熔融金属锂,钾,钠,三氟化氯,高温三氟化氯和具有较高流速的液态氟外,它几乎可以输送绝大部份的化的液体,建议温度在80度以内使用它。
氟橡胶隔膜:耐腐蚀性也很好,可以输送各种酸性介质,碱性液体,盐介质,油介质和碳氢介质等。氟橡胶的较高温度为177度,氟橡胶膜的价格略高。如果输送介质是腐蚀性介质且温度在80度以内,建议使用聚四氟乙烯隔膜,如果输送介质温度高于80度,小于120度,建议隔膜应为氟橡胶膜片。

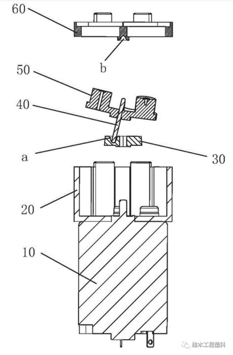
图1

图2
微型隔膜泵的传动装置大致如图1和图2所示,包括偏心轮30、传动轴40和支撑架50并配合囊座60实现传动功能,偏心轮30借助轮心孔固定安装在电机10的输出轴上,传动轴40的中段部位固定在支撑架50中,传动轴40的下端与偏心轮30的下凹槽a接触,而上端与囊座60中央位置处的上凹槽b接触。工作时,安装在底座20上的电机10传动于偏心轮30,带动传动轴40进行偏心旋转,使支撑架50的支撑臂上下动作,带动囊体70进行吸入或压出动作,从而实现将流体从顶盖80的出口泵出。

现有技术的传动装置,在偏心轮30偏心位置处的下凹槽a和在囊座60中央位置处的上凹槽b都是宽松的喇叭口,传动轴40的下端宽松地安装在下凹槽a中,传动轴40的上端宽松地安装在上凹槽b中。工作时,传动轴40的下端在下凹槽a的喇叭口中以较大的枢轴转动,会产生不同程度的振动和摆动,从而产生不良的噪音。从而需要作为核心功能件的偏心轮材料,除了具备优异的耐磨性和自润滑性之外,还需要具备优异的吸振性和弹性。苏州维本工程塑料Wintone Z33耐磨静音齿轮专用工程塑料,通过很多应用案例发现,在微型隔膜泵偏心轮的应用上,与传统的POM材料相比,Z33具有更优异的耐磨耐疲劳性和静音性,可以帮助解决POM偏心轮在使用一段时间后容易磨损被顶穿的问题,同时有效降低传动噪音,大幅提高微型隔膜泵的耐疲劳寿命。

在微型电机水泵外壳罩盖的应用上,苏州维本Wintone ZG6工程塑料,可以帮助解决传统的玻纤增强尼龙66和PPS材料会遇到的一些问题:
1.玻纤增强尼龙66的机械性能受水分的影响比较大、耐磨和尺寸稳定性不够、耐水解性不够(特别是耐热水解性不够)、耐腐蚀性有局限等问题。
2.玻纤增强PPS的脆性较大的问题;PPS螺丝孔有时会开裂等问题。
苏州维本工程塑料Wintone ZG6材料的特点是:优异的机械性能并且不受水份影响(兼顾良好的刚性和韧性)、优异的抗蠕变性和吸震性、优异的耐磨性和尺寸稳定性、优异的耐腐蚀性(包括耐冷热水解、耐酸碱、耐汽车冷却液以及各类化学溶液)。Wintone ZG6工程塑料在汽车电子水泵、智能马桶水泵、热水器水泵、医疗器械水泵等各类微小型电机水泵上都有成功应用。


苏州维本工程塑料有限公司——您身边的工程塑料创新应用开发伙伴。
大家都在看
-
颜值即正义 五款长在审美点上的硬核轻武 哪一把是你的梦中情枪? 在冰冷的钢铁世界里,武器从来不仅仅是冰冷的杀戮工具。当精密的机械逻辑碰撞上极致的工业设计,这些由钢铁与火药淬炼而成的造物,便升华成了让无数人痴迷的艺术品。有那么五款名枪,它们跨越了时代的硝烟,仅仅凭借 ... 机械之最03-15
-
机械铸魂 铁路传薪——探访北京交通大学大学生机械博物馆 神州高铁模型与穿隧道变位平台运架一体机电影放映机光学经纬仪世界上独一无二的八音盒志愿者亲手复原的纺车美国早期马鞍形车床穿隧道变位平台运架一体机国产自动号码机、美国产打票机双筒望远镜打字机墙手摇计算机群 ... 机械之最03-15
-
从鸡舍到餐桌,一枚让人放心的鸡蛋要经过几道关? 数据来源:国家蛋鸡产业技术体系清晨,百姓餐桌上,白煮蛋冒着热气;餐饮店后厨内,鸡蛋煎炒烹炸出家常美味;烘焙间里,金黄色蛋液被均匀打发……鸡蛋,中国人餐桌上不可缺少的主角之一。而今,中国人的买蛋习惯正在 ... 机械之最03-15
-
记者“养虾”手记:体验五天,发现目前“龙虾”并不适合普通用户 记者使用AI生成。近期,“养龙虾”热潮来袭,不少用户在“FOMO(害怕错过)”情绪下涌入“养虾”市场,甚至不惜花钱也要部署OpenClaw。“龙虾”究竟好不好用?有多“费钱”?是否会泄露隐私?对此,新京报贝壳财经记 ... 机械之最03-15
-
机械五虎谁能称王?清华、哈工大硬刚985,这些名校分化有多猛 如果你家孩子问机械工程要读哪,很多人估计第一反应就是清北、哈工大吧。但真想好报志愿,光看985还是211没啥用,要深挖里面的门道。现在全国能发机械工程博士学位的高校,加起来一共有93所,更别说还有189所学校搞 ... 机械之最03-15
-
亮黑伯莱塔92X 意式优雅与战术美学的碰撞 黑曜石般的钢铁艺术 在手枪设计的漫长画卷中,伯莱塔(Beretta)始终是那个能够将致命武力与艺术美感缝合得严丝合缝的工匠。如果说经典的92FS是身披迷彩、立下赫赫战功的沙场老兵,那么亮黑版伯莱塔92X则是走进二十一世纪的现代精英。它 ... 机械之最03-15
-
2026广西机械类报考:哪所大学就业最香?最新录取数据曝光! 各位家长、同学好,我是专注广西高考报考的指导老师。这几天咨询群里,机械类专业的热度很高。确实,机械是工业的基石,从汽车制造到智能装备,从工程机械到机器人,机械类人才的就业面非常宽。但问题来了:广西开机 ... 机械之最03-15
-
夜读丨这只被全网心疼的小猕猴,让我们看到拥抱的意义 近日,一只名叫Punch的小猕猴在网络中走红。它刚一出生就被母亲抛弃,不被猴群接纳,玩耍时甚至被同类殴打,公园管理员没办法,只得给它一个毛绒猩猩玩偶作为“母亲”的代替品。Punch无论走到哪,都抱着那只毛绒猩猩 ... 机械之最03-15
-
机械类专业别乱选!12个热门方向全梳理,就业好坏一眼看清 高考填报志愿打算选机械方向的考生和家长,一定要先弄清楚专业差异!很多人以为机械都是一样的,实际上不同方向未来就业、薪资、发展天差地别,有的进大厂拿高薪,有的只能做传统技工。今天把机械类最实用的专业方向 ... 机械之最03-15
-
“龙虾”接管电脑的5分钟里,他的电脑被陌生人连了139次 “保护环境。”当你给AI发送这样一条极度简单、语义模糊的指令后,你期待它给你怎样的回应?解释环保的概念?给出保护环境的建议?慷慨激昂地发表一番绿色地球宣言?如果它没做这些,反而是悄无声息地删掉你一部分文 ... 机械之最03-13
相关文章
- 2026广西机械类报考:哪所大学就业最香?最新录取数据曝光!
- 夜读丨这只被全网心疼的小猕猴,让我们看到拥抱的意义
- 机械类专业别乱选!12个热门方向全梳理,就业好坏一眼看清
- “龙虾”接管电脑的5分钟里,他的电脑被陌生人连了139次
- 【史海回眸】泰缅“死亡铁路”,日军暴行铁证
- 第51届日内瓦国际发明展开幕 中国参展规模创新高
- 云深处科技的机器马有何特别之处
- 来时的路(一):第一机械工业部,那个管得最宽的“一机部”
- 独家!探秘创下五大“世界之最”的中国深海“蛟龙”
- 火骨纸魂、跃夜成光,五经富烟花火龙非遗重生全记录
- 世界肾脏日
- 商鞅变法,最狠的改革,把弱秦变成战争机器
- 向新求质 三明工业稳健前行
- P08炮兵型 当优雅鲁格遇上长枪管 它是手枪界的“狙击精英”
- 对比多家裁断机供应商,最终还是选智成!原因很实在
- Nikon FM2:机械之心,永恒之魂
- 经常挖鼻孔,后来都怎么样了?有这种情况的人真的要注意了
- 别再盲目劝退机械!大学生选对这几个方向,越老越吃香薪资节节高
- “封龙”何以变“飞龙”——石家庄五大产业跃升记
- “6G网要来了”热搜第一!研发进入关键期,还要破解哪些难题
热门阅读
-
天下第一暗器暴雨梨花针,传说中的唐门暗器做出来了 07-13
-
汽车投诉排行榜前十名汽车 问题最多的就是这些车 07-13
-
世界上最牛挖掘机,甚至可以挖穿一座城市 11-05
-
世界最大核潜艇制造厂,产量远超中美法 11-20
