千亿东岭破产之刻
每经记者:夏子博 每经编辑:张静
东岭集团股份有限公司(以下简称:东岭集团),宣告破产。
昨日(7月29日),全国企业破产重整案件网(2024)陕03破5号公开发布,意味着被申请人东岭集团破产程序开始新实质进展。
东岭集团曾位列中国建筑钢材销量榜第一名,用45年的发展,书写了“一家村办集体企业发展成中国500强”的造富传奇。据陕西100强企业排序名单显示,2022年东岭集团营收为1256.65亿元,位列2023年陕西百强企业第七名、在民企中排第三名。
如今,涉及司法案件近150件、总执行金额12.60亿元、公司法人被限高……昔日陕西钢贸巨头,倏忽间竟走到了破产重整的地步。
“被其他债权人申请破产”
最早的“破产”消息源自一场司法拍卖。根据阿里司法拍卖平台,广西南宁市中院对被执行人东岭集团持有的长安银行3488.28万股股金进行网络司法公开拍卖,原定于7月19日至7月20日10点拍卖,起拍价为1.03亿元,每股净资产为3.95元/股。
但上述法拍最终被中止,显示原因为“被执行人被其他债权人申请破产,已裁定进入破产重整程序,要求中止执行。”

图片来源:阿里司法拍卖平台
不过《每日经济新闻》记者注意到,同样在阿里司法拍卖平台,另一项拍卖东岭集团持有的长安银行5103.92万股的股权的法拍却并未被中止。
该法拍由西安市碑林区人民法院发起,申请执行人为陕西祥企谊晟贸易有限公司(以下简称:陕西祥企),将于2024年8月22日10时至2024年8月23日10时拍卖,起拍价为1.11亿元,每股价格2.17元,相比广西南宁市中院法拍每股价格下降40%左右。
在裁判文书网上,还能查到东岭集团与陕西祥企的纠葛往事:2023年9月26日,陕西祥企约定向陕西东岭物资有限责任公司(以下简称:东岭物资)提供借款1亿元,借款期限为21个自然日,并在9月27日向东岭物资全额打款。
后来,东岭物资却没能还上本金。两者在对簿公堂时也多了一些“细节”:例如,1亿元的本金来自陕西鑫凯鸿盛贸易有限公司,其借款原因是想为了和东岭集团“做生意”。
融资居间人方富贵到庭接受询问称:当时东岭集团提出短期需要一笔资金,我给东岭说刚好有公司有意向做供应链,东岭的人就提出看他们有没有实力,说先提供一笔借款,一是证明他们有实力和合作诚意,二是为以后合作打基础混个脸熟,然后我就把他们两家介绍认识,促成了本案借款。关于东岭集团财务人员打入我个人账户的364.8万元,是东岭集团的人给我的中介费。
最终,法院判决东岭物资向陕西祥企偿还借款本金9640万元及借期内利息77.60万元,以及支付相关逾期还款违约金、诉前保全担保费、律师费,东岭集团、李黑记、李磊承担连带付款责任。
上述判决款项总数,与长安银行股权法拍对价(1.11亿元)基本一致。陕西诚信资产评估有限公司出具的评估报告显示,目前东岭集团为长安银行第七大股东,共持有36488.6万股,持股比例4.82%。本次涉及两项法拍的共8592.2万股,占其持股数约1/4。
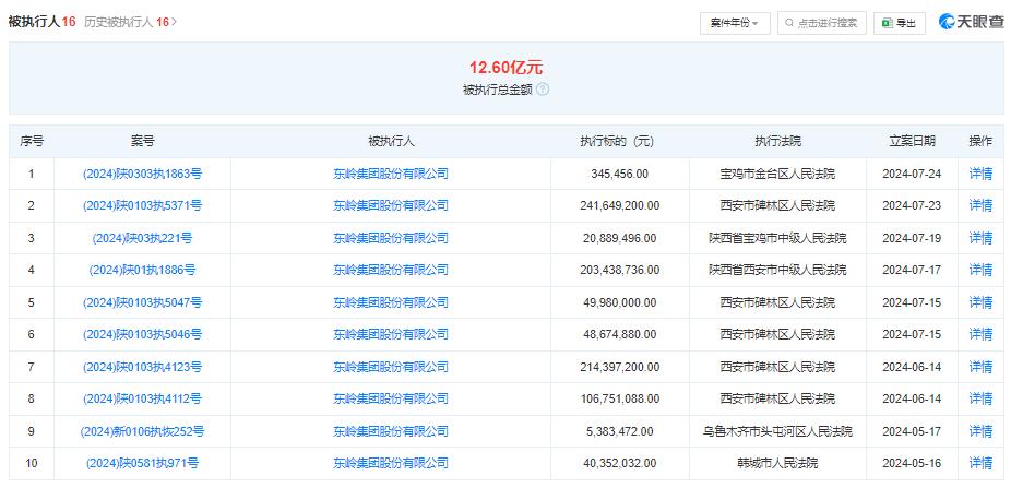
被执行总金额12.60亿元
东岭的麻烦不止于此。
今年1月时,东岭集团的被执行总金额为1.11亿元,而现在,天眼查显示东岭集团已有16项被执行人记录,被执行总金额达12.60亿元。

图片来源:天眼查
目前,东岭集团共涉及147件司法案件,仅2024年就有69件,其中68件身份为被告,案由多为买卖合同纠纷、借款合同纠纷、金融借款合同纠纷等,同时东岭集团及其关联公司还存在票据违约、股权冻结等情况。
2024年,东岭集团有43条开庭公告,其中买卖合同纠纷22项,借款合同纠纷5项,原告方包括银行机构(兰州银行股份有限公司天成支行、中国光大银行股份有限公司宝鸡分行、中国银行股份有限公司佛山分行等),以及一些从事供应链、有色金属进出口的“同行”和产业链上下游企业。开庭日期最迟已经排到了2024年9月12日。
当第一块多米诺骨牌被推倒,金融机构、银行、企业等出于自保而竞相挤兑,从商业理性而言无可厚非。这也暴露出,企业或杠杆率控制不合理,过于依赖融资提供的流动性等诸多问题,本身业务发展模式就暗藏风险。
近年钢铁行业震荡不断,上半年多数钢企陷入亏损窘境,传导部分钢贸商赚钱难问题凸显,全国企业破产重整网显示,甚至有一批钢贸企业进入了破产清算阶段。以钢铁、有色金属贸易等为主业的东岭集团所面临的经营压力可想而知。
据中国货币网上披露的跟踪评级报告,2018年—2021年,公司营收从1096.57亿元增长至1327.66亿元,但净利润连年下滑,由15.90亿元降至3.89亿元,“增收不增利”明显。东岭集团旗下略阳钢铁总经理刘会圈曾向媒体表示,2022年“我们炼铁成本的51%来源于焦炭和煤,冶金产业链的利润都被煤矿卷走了”。
行业走向下行通道,也是大浪淘沙的开始,但东岭集团资金链抗风险能力难言宽裕。
根据评级报告,截至2020年末,公司与中国进出口银行、中国工商银行、中国银行、中国农业银行、交通银行等签署了综合授信协议,授信总额113.45亿元,尚未使用的余额仅剩6.20亿元。
这也意味着,金融机构的“风吹草动”,引发公司现金流连锁反应的概率大大增高,一旦出现抽贷现象,极易形成恶性循环。根据厦门市湖里区人民法院限制消费令(2024)闽0206执2691号,东岭集团及法人李黑记已被限制了高消费。
对此,记者联系东岭集团方、股权交易代理机构、陕西立邦软件有限公司、陕西祥企等多方电话,但均未获得明确回复。
能否“起死回生”?
在全国企业破产重整案件网搜索“东岭”,可以发现两份破产审查案件。
(2024)陕03破申22号、23号分别指向东岭集团及其重要子公司东岭物资,申请人分别为陕西立邦软件有限公司、宝鸡市金台区同盛昌商行,公开时间7月25日,办理法院陕西省宝鸡市中级人民法院。
一位与东岭方面存在业务往来的企业人士向记者表示,就是因为欠钱了,现在(东岭方)债务还不清了,才会到申请破产这一步。
7月29日,第三份(2024)陕03破5号公开发布,意味着被申请人东岭集团破产程序有了新实质进展,存在不能偿债或资不抵债的情况。

图片来源:全国企业破产重整案件网
根据法拍时信息,东岭集团走的是破产重整,目的非“清算”而是“重生”,是对于一时财务困境但有生存发展能力的企业,通过引入投资、消减债务等方式帮助企业化债,围绕欠债主体的利益再分配,以求实现债权人、债务人、投资人、股东等多方共赢。
但重组就像看病,能不能救,怎么救,各有各的不同。有的公司能成功甩下包袱,逐渐回血;有的公司始终困于泥淖,业绩迟迟不见好转;也有的公司在重整完成后迅速遭遇“黑天鹅”,再次走向了落幕的命运。
以往破产重整案件中,重整投资人能否带来好的资产、资金是企业能否“起死回生”的关键。以东岭的体量,“操盘者”必须是资金雄厚、资源广泛者,后续我们也将持续关注“白衣骑士”的身影。
而麻烦缠身的东岭集团,是否还具备“拯救”价值?
答案或许显而易见。官网显示,东岭集团主要涉入贸易供应链、实体制造、地产服务三大产业板块,业务布局全国,辐射全球市场,年销售各类钢材超1000万吨,位列中国建筑钢材销量榜第一名。
本身价值而言,其深耕供应链行业多年,公司生产要素齐全,配套设施完备,还有矿产等稀缺资源,积累了良好的营销网络、客户关系和商业名气,最鲜活的例子就是,2023年仅通过“合作意向”就借贷到1亿元。
此外,这样一个“巨无霸”倒下,对于当地经济发展、就业、税收等多方面而言无疑是个打击,如何在遵循市场原则与法治精神前提下纾困帮扶、妥善处理也需考虑。
从现实角度讲,钢贸企业走下坡路或许不是个短周期,市场正在缩小,已有一批钢贸企业走上了破产清算的道路。如何借这个机会,将自身业务线条重新梳理,以求轻装上阵,是东岭需要考虑的问题。
值得一提的是,公司董事长李黑记去年曾多次表示要聚焦黑色和有色两大主业,“‘十四五’期间,东岭集团将把煤炭、铁矿、铅锌矿以及多品种有色金属产能进行一个等规模释放,在全球竞争的白热化阶段,能源资源会替东岭保驾护航。”
每日经济新闻
大家都在看
-
岁末双奖至,中科可蓝绿色商业潜力和原始创新实力获得双认证 岁末将至,捷报频传!在全年收官的关键节点,中科可蓝接连迎来两大利好。在国内知名科创媒体36氪率先揭榜的“WISE2025 商业之王”年度企业评选中,公司荣膺最具商业潜力企业榜单。随后又成功跻身北京市2025年度“创 ... 商业之最12-06
-
万达“重塑”商业版图:一场战略反击的起点? 一个连裤子都快当掉的人,怎么会突然花钱去赎回一件早就卖掉的奢侈品?这事儿放在王健林和万达身上,就让很多人看不懂了。这几年,大家听到的消息都是万达在“卖卖卖”,为了还债,从文旅城到酒店,再到一座座万达广 ... 商业之最12-06
-
返租回报必死局?赵旭州总裁揭开商业地产最狠“死刑宣判”! 血泪教训堆积如山,价值蒸发触目惊心!恩次方控股集团赵旭州总裁,以20年行业洞察,直击商业地产最顽固的“癌症”——返租到期死。无数投资者倾家荡产,无数项目一地鸡毛,根源何在?如何破局?这篇颠覆认知的干货, ... 商业之最12-06
-
“朱雀三号验证的每一项技术,都是在给我国的商业航天探路” (来源:星海情报局)12月3日,观察者网了解到,中国民营企业蓝箭航天自主研发的朱雀三号运载火箭成功实现首飞入轨,但一级火箭回收任务未能成功。根据任务数据,火箭按时点火发射,顺利将有效载荷送入预定轨道,完 ... 商业之最12-06
-
浙江前首富跳团舞20万人围观!周文强:先跪着赚钱,才能站着选择 当60岁的周成建戴着墨镜、穿着潮牌夹克,在直播间略显生硬地跳起团舞时,屏幕另一端是20万人的集体围观。有人看热闹,有人看笑话,但真正看懂门道的人,会在这位昔日“步行街之王”的身上,看到中国商业史上最真实的 ... 商业之最12-06
-
传承与开创!80岁丹阳汽配大佬唐敖齐的百亿商业传奇人生 2025年10月26日,江苏丹阳一位传奇企业家走完了生命历程。新泉股份创始人、80岁的唐敖齐先生安详离世,留下了一家市值近350亿元的上市公司,以及一段从借4000元起步到缔造百亿商业王国的创业史诗。在他身后,一场涉 ... 商业之最12-06
-
李嘉诚:从渔村少年到亚洲首富的商业传奇 在全球华人商业史上,李嘉诚无疑是最具代表性的人物之一。他用一生的努力与智慧,缔造了庞大的商业帝国,从一个普通的渔村少年成长为亚洲乃至全球最具影响力的商业领袖之一。他的成功不仅仅是财富的积累,更是一种商 ... 商业之最12-06
-
36氪公布「年度最具商业潜力企业」榜单 11月27日,中国商业领域的年度盛典——36氪WISE2025商业之王大会在北京召开,并重磅揭晓“WISE2025商业之王年度名册”。微亿智造凭借在工业具身智能机器人领域的技术突破与规模化商业落地成果,成功入选「年度最具商 ... 商业之最12-06
-
深耕小城商业:江阴南门八佰伴的五年破局与进化之路 明末清初,无锡人王永积在《锡山景物略》中记录下了无锡崇安寺商贾云集的盛景:寺旧有市,每岁于六月十九日,铺设于两廊,百货毕集,因之倾动四方。在长达几十天的庙市中,来自闽浙的百货汇集,摩拳擦掌的万人臻聚, ... 商业之最12-05
-
尼尔森 IQ 中国区首席客户官骆琦:“体验”成为未来推动消费的重要力量,不同世代消费者都愿意为“活得更好”买单丨WISE2025商业之王大会 2025年的商业世界正站在新旧转换的十字路口。在商业叙事重构、科技浪潮席卷的当下,WISE2025商业之王大会以“风景这边独好”为基调,试图在不确定中锚定中国商业的确定性的未来。我们在此记录这场思想盛宴的开篇,捕 ... 商业之最12-05
相关文章
- 深耕小城商业:江阴南门八佰伴的五年破局与进化之路
- 尼尔森 IQ 中国区首席客户官骆琦:“体验”成为未来推动消费的重要力量,不同世代消费者都愿意为“活得更好”买单丨WISE2025商业之王大会
- 一个古平原的故事,揭示了商业世界里最核心的生存法则:算计比
- 马曼然说:“今年股市特殊,中国最顶级商业模式公司没人要我要”
- 卖80座后首赎1座!万达的反转,藏着中国企业最狠的生存智慧
- “农夫山泉”展示柜放“娃哈哈”是对商业道德最肆无忌惮的践踏
- 从药店9杯/日到全球200国!可口可乐138年:一瓶糖浆的商业传奇
- 朱雀三号验证的每一项技术,都是在给我国的商业航天探路
- WISE 2025 商业之王
- 朱雀三号回收任务未能完成,但其验证的每一项技术都是在给我国的商业航天探路
- 数据堂荣获36氪“WISE2025商业之王·年度最具商业潜力企业”
- ECARX以全面盈利表现 荣膺36氪WISE2025「年度最具商业潜力企业」
- 商业世界里最精彩的剧本
- 血泪铸就的真理!赵旭州:90%商业项目死于开业延期,如何破局?
- 36氪 WISE2025 商业之王大会
- 心智观察所:“友邦惊诧”遭遇中国速度
- 商业航天利好不断!板块内最赚钱的是这9家公司,利润都超10亿
- 李嘉诚:从潮州少年到商业巨擘的传奇人生
- 华贸中心的ESG进化论:从商业地标到生态共同体
- 忽必烈:中国历史上最会赚钱的皇帝!现代商业大佬都自愧不如!
热门阅读
-
世界上最小比基尼,几根绳子也能叫比基尼 07-14
-
胡文海事件真相,以暴制暴杀了村干部等14人 07-14
-
好日子香烟价格,多款不同系列价格口感介绍 07-14
-
缅甸惊现最古老琥珀 距今一亿年价值连城 12-09
