人字齿轮系统,磨损引起的齿面冲击和振动特性,会带来哪些危害
文丨胖仔研究社
编辑丨胖仔研究社
前言
齿轮传动是机械传动系统的核心部件,而在其长期使用过程中,由于磨损、冲击、动力传递等因素的影响,齿轮副会出现啮合刚度和啮合阻尼减小等一系列振动和噪声问题,严重时会造成齿轮传动失效甚至导致故障。

因此,研究磨损引起的齿面冲击和振动特性对提高齿轮传动系统的可靠性、降低振动噪声具有重要意义。
目前国内外对齿轮磨损引起的振动特性的研究较少,而在实际应用中,磨损引起的轮齿接触应力变化会导致齿面应力状态发生变化,从而产生了复杂的动态啮合刚度和阻尼变化,从而使得传动系统振动响应产生剧烈变化。
人字齿轮系统
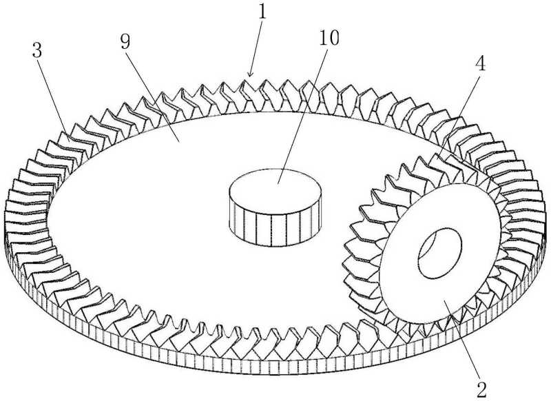
人字齿轮系统主要由一对内啮合的直齿圆柱齿轮、一对外啮合的人字齿轮以及两对齿轮轴和中间轴组成。两对内啮合齿轮和一对外啮合齿轮分别为直齿圆柱齿轮和人字齿轮。

X轴表示人字齿轮系统的中心距,Y轴表示人字齿轮系统的轴向坐标,Z轴表示人字轮的轴向坐标,W轴表示人字轮的径向坐标。L为人字轮齿数,R为人字轮齿厚,N为轮齿的齿宽。
直齿圆柱齿轮是一种常见的传动装置,被广泛应用于各种机械设备中。为了实现各种机械设备之间的精确传递动力或运动,通常需要在两个轴上安装具有一定相对位置和相对运动关系的齿轮。
在这种传动装置中,通常使用两个相互啮合的齿轮来实现精确的传动比传递动力或运动。人字齿轮是一种典型的减速装置,它由两对平行四边形齿轮组成,当一对直齿圆柱齿轮和一对人字齿轮啮合时。

它们在齿面上沿法向产生一个交变的压力角,其大小可由齿面上沿切向产生一个切向力来衡量。
人字齿轮啮合时,两个交变压力角将在轮齿上沿垂直于两个齿宽方向产生一个交变方向的力,该力将使两个啮合轮齿沿法向方向产生一个垂直于齿宽方向的交变应力。这个交变应力与轮齿上沿切向产生的应力之和便构成了人字齿轮齿面上的等效应力。
由于人字齿轮传动是一种变截面的圆周传动,因此它的齿面上将产生一个旋转的等效压力角。对于一对内啮合的直齿圆柱齿轮和一对人字齿轮来说,它们的等效应力值为:
式中,σs为两个人字齿轮的轮齿上在法向应力方向产生的应力;σf为人字齿轮与直齿圆柱齿轮啮合时产生的等效应力;σp为人字齿轮与直齿圆柱齿轮啮合时产生的等效应力;σs和σf分别为直齿圆柱齿轮和人字轮的齿数。

同时,由于人字齿轮的啮合过程是一种变截面圆周传动,因此它会受到齿面上旋转等效压力角产生的旋转惯性力、相对于齿面法向方向产生的切向惯性力以及由于人字齿轮与直齿圆柱齿轮之间存在啮合位移所导致的轮齿弯曲惯性力三种不同性质的力。
此外,由于人字齿轮中存在啮合变形、加工误差和制造误差以及负载不均等因素,会在人字齿轮系统中产生各种激励,从而导致系统出现振动、冲击等现象,严重影响系统工作性能和使用寿命。
考虑到人字齿轮在传动过程中,会受到各种载荷和振动激励因素,因此本文利用 MATLAB软件建立了人字齿轮系统的动力学模型,通过对其进行仿真分析,获得了人字轮转速、扭矩、输入转速及输入扭矩等激励因素对系统振动特性的影响规律。

人字齿轮系统的结构和工作原理
人字齿轮系统主要由主、从动齿轮、端面行星架、端面齿轮轴组成。人字齿轮系统由三个基本的自由度组成,即主、从动齿轮的相对运动,端面行星架与端面齿轮轴之间的相对运动,以及两个端面齿轮的相对运动。与一般传动系统相比,人字齿轮系统具有以下特点:
(1)三个自由度之间存在着耦合关系:主、从动齿轮分别由三个自由度的齿轮进行传动;
(2)传动效率较高:由于人字齿轮系统的基本自由度为三个,且传动效率较高,因此可以提高系统的传动效率。

(3)在相同转矩和转速条件下,人字齿轮系统能够比一般传动系统承载更大的载荷。
(4)人字齿轮系统可以通过调整传动比来改变传动比,从而实现不同的传动比要求。
(5)由于人字齿轮系统采用了较为复杂的几何结构和运动方式,所以使得该系统具有较高的强度和刚度要求。

在人字齿轮系统中,由于轮齿之间的啮合关系为线接触、点接触以及线-点接触等形式,因此轮齿表面接触应力相对较大。由于轮齿之间啮合区域面积很小,因此轮齿啮合产生的振动是由啮合冲击引起。这种振动通常在啮合频率较低时才会表现出来。
如果在高频率范围内发生共振现象,则可能导致系统产生剧烈振动。而人字齿轮系统中由于基本自由度为三个,且端面行星架与端面齿轮之间存在着耦合关系,因此在特定频率范围内发生共振现象时就会产生剧烈振动。
通过对人字齿轮系统的振动特性进行分析,可以有效地改善系统的动力学性能。人字齿轮系统的动力学特性主要取决于主、从动齿轮之间的啮合关系和端面行星架与端面齿轮之间的啮合关系,以及端面行星架与端面齿轮轴之间的耦合关系。

其中,主、从动齿轮的啮合关系决定了系统的动态特性。当人字齿轮系统在低转速和低转矩条件下运转时,由于行星架与端面齿轮之间的啮合作用,使系统产生较大的振动,因此可以采用减小系统振动的方法来提高系统的传动效率。
齿面磨损对人字齿轮系统振动特性的影响
为了研究不同齿面磨损程度对人字齿轮系统振动特性的影响,在建立人字齿轮系统时变啮合刚度模型时,首先对正常状态下的人字齿轮系统进行有限元分析,得出了正常状态下的啮合刚度值,并根据此刚度值计算得到了正常状态下的人字齿轮系统齿面磨损量。

根据人字齿轮系统的几何结构图,可以得到人字齿轮系统简化模型。在此基础上,以人字齿轮系统中的一对啮合副为研究对象,分别研究正常状态和齿面磨损情况下的人字齿轮系统振动特性。
考虑到正常状态下时变啮合刚度模型中,由于实际工况的原因会导致模型参数随着时间发生变化,而正常状态下时变啮合刚度模型中,参数是固定不变的,因此需要对正常状态下的时变啮合刚度进行参数识别。
在考虑到齿面磨损情况下时变啮合刚度模型中,由于实际工况下磨损情况不同,会导致模型参数随着时间发生变化。因此需要对不同磨损程度下的时变啮合刚度进行参数识别。

该模型由人字齿轮、支承和轮齿三个部分组成。其中,支承部分由左右对称分布的两个直齿圆柱齿轮、一个与直齿圆柱齿轮啮合、以支承为中心对称分布在支承端和轮齿端之间的橡胶垫组成。
轮齿部分由左右对称分布的两对锥齿圆柱齿轮和一个与锥齿圆柱齿轮啮合、以锥齿圆柱齿轮为中心对称分布在轮齿端和支承端之间的橡胶垫组成。该模型中,每对锥齿圆柱齿轮与两对锥齿圆柱齿轮之间均为弹性连接。
字齿轮系统在实际应用中的前景
齿轮传动系统是机械设备中最常见的传动方式,具有结构紧凑、传动精度高、承载能力大等优点。人字齿轮系统作为一种典型的人字齿轮传动系统。
在其啮合传动过程中,轮齿啮合时产生的接触力可达2~3 kg/cm,轮齿啮合时产生的轮对相对运动可达1m/s,这就要求轮齿间必须具有足够大的接触刚度和接触阻尼,才能保证传动系统具有良好的工作性能。

此外,轮齿啮合时还会产生较大的啮合力,其大小直接影响着齿轮系统的振动特性。目前,人字齿轮系统研究主要集中在啮合刚度、啮合阻尼和轮齿啮合位移等方面,关于齿面磨损对人字齿轮系统振动特性影响方面的研究还比较少。
国内外学者已经对人字齿轮系统进行了大量的研究工作,但考虑磨损作用后的人字齿轮系统动力学特性研究相对较少,这对进一步揭示人字齿轮系统动力学特性具有重要意义。
目前,国内人字齿轮传动技术已得到很大发展,但还存在一些问题。例如:目前研究中所用的模型和方法大都是基于人字齿轮传动系统基本参数和理论模型建立起来的。

关于齿面磨损对人字齿轮系统动力学特性影响规律的研究还不够深入;在实际应用中很难准确测量出齿轮啮合时产生的动态啮合力,而且由于人字齿轮系统是一个空间复杂结构,测量其动态啮合力时存在较大困难。
上述问题不仅限制了我国在人字齿轮传动领域的发展,而且也严重影响了人字齿轮系统在工程实际中的应用效果和经济效益。

笔者观点
1、由于齿面磨损是一个动态激励,因此在研究齿轮系统的动力学特性时,要考虑因磨损而引起的时变啮合刚度、齿面冲击和齿侧间隙等因素。

2、在分析齿轮系统振动特性时,一般都是采用齿面接触作为分析的基础。因为,由于齿面接触时,齿根应力较大,所以很容易出现裂纹和折断等现象,因此需要对齿面接触进行有限元分析。
3、由于在实际齿轮系统中,可能存在多种因素引起的齿面磨损现象,因此在研究齿轮系统动力学特性时要考虑多种因素引起的各种故障。

4、由于人字齿轮系统在实际应用中有很多需要解决的问题,因此在研究时要注意从理论上和实验上进行综合分析。
参考文献
1、王学武,陈斌,王强,汪春红,夏立军,等。考虑齿面磨损的人字齿轮啮合振动特性研究[J]。机械传动与控制,2012,26 (6):1031-1033。
2、谢华宁,韩勇,胡建勇等。基于三参数对数正态分布的齿面磨损量估算方法[J]。中国机械工程学报,2017,34 (7):1607-1619。
3、丁亚辉。齿轮磨损及其对振动响应的影响[J]。浙江工业大学学报(自然科学版),2017,39 (7):1178-1179。
4、夏立军,韩勇。齿轮啮合原理[J]。山东农业大学学报(自然科学版),2016,27 (7):532-536。
5、王连喜,刘德荣,闫文斌,等。人字齿轮副动力学建模及动态特性分析[J]。振动与冲击,2013,22 (4):23-26。
大家都在看
-
欧洲车企掀起“向东看”浪潮,来到中国市场“健身房” 原标题:欧洲车企掀起“向东看”浪潮——“汽车产业的未来在于与中国合作”(见证·中国机遇)大众安徽整车制造基地生产车间内的电动汽车自动化生产线。大众汽车供图斯堪尼亚江苏如皋工业生产基地内,技术人员正在紧 ... 机械之最04-29
-
伺服VS机械:如何为精密电子冲压选择最合适的高精度冲床? 摘要在精密电子冲压里,冲床选得对不对,直接影响尺寸稳定、毛刺控制和产能节拍。简单来说:伺服冲床更像“可编程的冲床”。滑块速度和行程曲线能按工艺来设,定位和重复精度也更容易做得更稳,适合连接器端子、屏蔽 ... 机械之最04-29
-
铜合金精密零件加工:黄铜、铍铜、红铜怎么选? 铜材在精密零件里是一个特殊的存在——不像铝合金那么主流,但在特定场合完全不可替代。导电性好、导热性优秀、耐腐蚀性强,是铜材被选择的核心原因。但"铜"不是一种材料。黄铜(Cu-Zn合金)、铍铜(Cu-Be合 ... 机械之最04-28
-
金属材料及热处理基础:盘点7个力学性能关键指标,从原理到应用 在机械制造领域,黑色金属材料的应用占比超 90%,核心原因就是它具备可通过热处理灵活调控、能适配各类复杂工况的力学性能。不管是零件设计选材、热处理工艺制定,还是后期的失效分析,吃透力学性能指标都是绕不开的 ... 机械之最04-27
-
国内史诗级长途自驾,3 万公里跨越南北西东,108 天走完直呼过瘾! 当夕阳把最后一抹金辉洒在帕米尔高原的雪峰上,当车轮碾过东极抚远凌晨四点的第一缕晨光,你会突然明白——有些风景,注定属于那些把梦想刻进车轮的人。这不是一场旅行,这是一次对960万平方公里的致敬。108天,3500 ... 机械之最04-27
-
万亿级大风口!超大“机”遇,来了→ “十五五”规划纲要,将“量子科技、生物制造、氢能和核聚变能、脑机接口、具身智能、第六代移动通信”列为六大未来产业,推动其成为新的经济增长点。具身智能是指拥有物理身体的智能体,人形机器人就是典型的代表之 ... 机械之最04-27
-
机械五虎VS机械四小龙完整版对比!2026报考直接对照选 机械五虎VS机械四小龙完整版对比!分数档位+专业侧重+就业差异,2026报考直接对照选 开篇导语 工科机械报考最纠结:选机械五虎冲顶尖天花板,还是选机械四小龙走高性价比赛道?一份完整版对比表,把分数门槛、王牌特 ... 机械之最04-27
-
首席记者谈首季经济丨江西的新能源产业突围之路 新华社南昌4月26日电 题:江西的新能源产业突围之路新华社记者冯俊扬地处江西上饶的晶科能源股份有限公司稳居全球光伏组件出货量前列;刷新充电速度纪录的比亚迪新一代刀片电池在江西抚州量产……今年1-2月,江西光 ... 机械之最04-27
-
0博士组合拿下ICLR时间检验奖,十年论文终封神 鹭羽 发自 凹非寺量子位 | 公众号 QbitAIICLR 2026时间检验奖新鲜出炉,获奖者——GPT天才本科生Alec Radford。网友们纷纷送来祝贺:“实至名归!”Alec为人相当低调,其社媒清一水的都是转发推荐他人优秀成果。但实 ... 机械之最04-26
-
追光丨专属老年人的“神仙”健身房 你看了“心动”吗? 放眼全国大大小小的健身房早就遍地开花但专门给老年人开的健身房你见过吗?不是公园随便甩甩手也不是小区慢悠悠走两圈而是有专业设备、有运动方案、有指导人员的专业空间一进门先做“全身扫描”↓机器一测个性化运动 ... 机械之最04-26
相关文章
- 万亿级大风口!超大“机”遇,来了→
- 机械五虎VS机械四小龙完整版对比!2026报考直接对照选
- 首席记者谈首季经济丨江西的新能源产业突围之路
- 0博士组合拿下ICLR时间检验奖,十年论文终封神
- 追光丨专属老年人的“神仙”健身房 你看了“心动”吗?
- 2026北京车展,中国智驾正定义全球标准
- 关注“体验经济”丨每年十几万人打卡“小米工厂” 工业游何以这么火?
- 机械键盘选购指南:不同预算怎么选,才能不踩坑?
- 机械设计“进化史”从古代水车到智能机器人,藏着人类的造物智慧
- 机械专业报考建议:在质疑声中看清“工业之母”的真正价值
- 星箭聚力 探秘海南超级工厂
- 一场田间的“精密大考”——天津“优机优补”赋能合作经济一线观察
- 半夜收到一条私信:陈老师,我家孩子985机械电子,校招月薪5500
- 仅次于东道主!约700家中国展商亮相汉诺威工博会
- 央视曝光全球最强光刻机:西方封锁十年,中国早已另起炉灶
- 工业母机的“两岸配方”
- 机械大学生能考哪些证书?2026年高质量就业考证指南与职业规划
- 被机械设计“拯救”的3个日常瞬间,原来它一直在默默帮我们省事
- 为沙漠钉“楔子”——千里河西治沙行
- 商业航天,加速“飞天”(大数据观察·航天日特别报道)
热门阅读
-
天下第一暗器暴雨梨花针,传说中的唐门暗器做出来了 07-13
-
汽车投诉排行榜前十名汽车 问题最多的就是这些车 07-13
-
世界上最牛挖掘机,甚至可以挖穿一座城市 11-05
-
世界最大核潜艇制造厂,产量远超中美法 11-20
