作为机械工程的核心,活塞经历了怎样的发展,究竟有什么作用?


文 | 咏史泊
编辑 | 咏史泊
●○ 前言○●
活塞是一种机械元件,通常是一个圆柱体,可以在其中运动,通常是沿着其轴线来回移动,它通常是由金属制成,如铝合金、铸铁、钢等,但也可以使用陶瓷等材料制成,活塞在许多不同的机械系统中都有广泛的应用,例如内燃机、液压系统和空气压缩机等。

在内燃机中,活塞的作用是将燃料和空气混合物压缩,并将压缩后的混合物推向发动机的气缸中,从而产生动力。
在液压系统中,活塞的作用是将液压油从一个位置推到另一个位置,从而驱动其他机械元件。
在空气压缩机中,活塞的作用是将空气压缩成更高的压力,以便用于其他目的,如供应能源或制造工业产品。
活塞与气缸通常被一起使用,气缸是一个空心的圆柱体,可以与活塞进行密封的配合。在运动时,活塞会从气缸的一端移动到另一端,从而产生压力和动力,在某些系统中,活塞还可以与连杆等其他机械元件连接,以将动力传递到其他部件中。
那么活塞究竟能起到什么样的作用,应用范围有多广泛?它又是怎么成为现在不可或缺的工业零件的?

●○ 活塞的应用○●
活塞是一种常见的机械元件,应用非常广泛,它的主要作用是将压力或动力转换为机械运动,从而推动其他机械元件或产生动力。
活塞是机械工程中应用最广泛的机械元件之一,所以常被用来作为机械的核心部件。
活塞作为内燃机的核心部件,它的主要作用是将燃烧室内产生的高温高压气体推动活塞向下运动,从而驱动连杆、曲轴等部件旋转,产生动力。
活塞也是液压机械的关键部件之一,作用是通过液体压力,驱动活塞向前或向后运动,从而产生推力或拉力,驱动其他机械部件。

活塞是空气压缩机中最常见的部件之一,它的作用是将空气压缩成高压气体,供应能源或用于制造工业产品。
活塞在涡轮增压器中也有应用,主要是在某些高性能发动机中使用,作用是将废气推动到涡轮增压器中,提高发动机的进气效率。
活塞的制作材料一般是金属,如铝合金、钢等,具有良好的耐磨性和耐腐蚀性,在制造摩擦材料方面,活塞也有广泛的应用,比如制造摩擦片、摩擦轮等。
活塞在机械工程中具有广泛的应用,它的作用是将压力或动力转换为机械运动,从而推动其他机械元件或产生动力。

●○ 活塞的形状和尺寸 ○●
活塞的形状和尺寸通常与其所应用的设备有关,不同类型的机器和引擎会需要不同形状和尺寸的活塞。
活塞通常是一个圆柱形,顶部为平面或凸起,底部为圆锥形或者球形。活塞的直径通常与气缸的内径匹配,以确保密封性能。
活塞的长度取决于其运动轨迹和气缸的深度。活塞的头部通常会切成一个V形槽口,以容纳气门和汽缸壁间的间隙。

活塞的形状和尺寸还与其所应用的引擎的工作条件和性能有关,在高性能引擎中,活塞通常采用轻质材料和镶嵌物以减少摩擦和惯性,以提高引擎的响应和效率。
活塞的形状和尺寸也会影响气门正时、缸盖和缸体的结构等因素,活塞的形状和尺寸通常取决于其所应用的设备和要求的性能,这些要求可以包括密封性能、工作条件、工作效率和材料选择等。

●○ 材质和制造工艺 ○●
活塞是一个重要的机械零件,其材质和制造工艺的选择对于机械设备的性能和寿命至关重要。
一般来说,活塞的材质应该具有高的强度、硬度、耐磨性和耐腐蚀性,以确保活塞在长时间的使用中不会出现变形、磨损或腐蚀等问题。
常见的活塞材质有很多种,铝合金是制造活塞最常见的材料之一,具有高强度、轻量化、耐磨性、良好的导热性和导电性等特点。铝合金活塞广泛应用于汽车、飞机、摩托车等内燃机设备中。
铸钢活塞具有高强度、硬度和耐磨性等特点,适用于高性能和高负荷的发动机和压缩机等设备中。

钛合金活塞具有高强度、轻量化和耐腐蚀性等特点,适用于高性能的赛车发动机等应用。
陶瓷材料活塞具有良好的耐高温性、耐磨性和耐腐蚀性,适用于高性能发动机和高温高压环境中的压缩机等应用。
活塞的制造工艺通常包括好几个步骤,一般根据所选用的材料和结构要求,通过铸造或锻造等工艺制备出活塞的初步形状。
通过机械加工、热处理、表面处理等工艺,对活塞进行进一步的加工和调整,以达到设计要求。
将活塞组装到气缸中,并根据设计要求和使用条件进行调整和安装。
活塞的材质和制造工艺是影响其性能和寿命的重要因素,制造过程中需要严格控制每个步骤,以确保活塞的质量和精度。

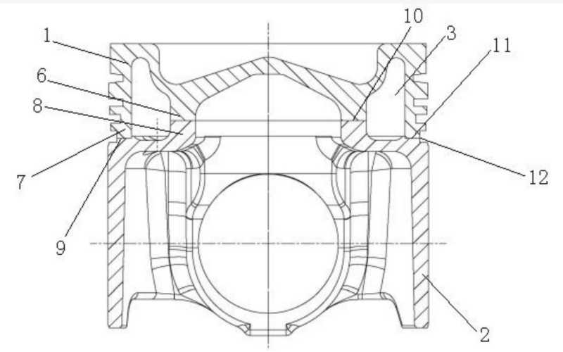
除了活塞本身,活塞的配件也是活塞系统中至关重要的组成部分,它们包括活塞环和活塞销。
活塞环是固定在活塞上的环形零件,通常由金属和高温耐磨的材料制成,用于密封活塞和气缸之间的间隙,防止燃油和润滑油进入燃烧室,同时防止气缸内的压力泄漏。
活塞环通常有两个或三个,分别为压缩环、油环和选配的火花塞缩油环,其中压缩环和油环通常采用不同的设计和材料。
活塞销是用于固定活塞和连杆的轴状零件,通常由钢或合金钢制成,活塞销通过活塞的销孔和连杆的小端孔连接在一起,使得活塞和连杆能够共同运动。
活塞销需要具有足够的强度和硬度,以承受高压和高温的工作条件,同时也需要具有良好的耐磨性和耐腐蚀性,以延长其使用寿命。
活塞环和活塞销是活塞系统中不可或缺的重要组成部分,它们的设计和材料需要根据实际工作条件和要求进行选择,以确保活塞系统的密封性能、运动稳定性和使用寿命。

●○ 工作原理○●
活塞是内燃机中最重要的零件之一,它扮演着将燃料燃烧产生的能量转化为机械能的关键角色。
当活塞从上死点向下运动时,气缸内的空气受到压缩,将空气压缩至较小的体积,同时将混合气体、燃料和空气混合物压缩到较高的压力和温度。

当活塞接近下死点时,点火系统将火花产生的电弧引燃混合气体,燃料和空气混合物在高压高温的环境下燃烧,产生能量和高温高压的燃烧气体,使活塞向上运动。
当活塞到达上死点时,排气门打开,将排气气体排出气缸,同时活塞向下运动,为下一个循环做好准备。

活塞通过周期性的上下运动来实现循环工作,将燃料燃烧产生的能量转化为机械能,从而推动发动机工作。
在此过程中,活塞需要具备足够的强度和耐热性能,以承受高压和高温的工作条件,同时需要与气缸壁形成良好的密封,以确保燃气的压力和能量能够被充分利用。

●○ 活塞在压缩机中的工作原理 ○●
在压缩机中,活塞的工作原理类似于在发动机中的工作原理,它们都是通过活塞在气缸内的往复运动来完成压缩和输送气体的任务。
当活塞从上死点向下运动时,气缸内的压力降低,外部气体通过压缩机的吸气阀门进入气缸内。
当活塞向上运动时,气缸内的气体被压缩到较高的压力和温度,使其能量和密度增加。

当活塞到达上死点时,排气阀门打开,将压缩后的气体推出气缸,同时活塞向下运动,为下一个循环做好准备。
在压缩机中,活塞需要根据具体的工作要求来设计和制造。例如,低功率的小型压缩机通常使用铸铝合金制成的活塞,而高功率的大型压缩机则通常使用铸铁或钢制成的活塞。
此外,为了确保活塞能够与气缸形成良好的密封,通常会在活塞上安装密封环,活塞在压缩机中的工作过程需要保证活塞的运动稳定性、密封性和耐热性,以确保压缩机的工作效率和稳定性。

●○活塞在液压缸中的工作原理 ○●
在液压缸中,活塞的工作原理也是基于活塞在缸筒内的往复运动来完成液压力的转换和执行作业的任务。
当液压系统向液压缸供应高压液体时,液体通过进油口进入液压缸内,向活塞上方的腔室施加压力。

当上方的腔室液体受到压力作用时,活塞会向下运动,压缩下方的液体。
当下方液体的压力达到一定程度时,液体通过液压缸底部的出口流出,同时活塞继续向下运动。
当活塞达到底部位置时,系统会向液压缸的另一腔室供应高压液体,使活塞向上运动。
在液压缸中,活塞需要根据具体的工作要求来设计和制造,小型液压缸通常使用铸铝合金制成的活塞,而大型液压缸则通常使用铸铁或钢制成的活塞。
为了确保活塞能够与缸筒形成良好的密封,通常会在活塞上安装密封件,活塞在液压缸中的工作过程需要保证活塞的运动稳定性、密封性和耐磨性,以确保液压缸的工作效率和稳定性。

●○活塞的维护和保养 ○●
为了保证活塞的正常工作,需要进行定期的维护和保养,活塞环是活塞的重要组成部分,它的磨损会导致活塞和缸套之间的泄漏和油耗增加,需要定期更换活塞环,一般建议每隔一定的时间或行驶一定的里程进行更换。
活塞在工作中会受到高温和高压的影响,因此需要定期清洁活塞和润滑缸套,以确保它们的良好工作状态。
在发动机中,活塞杆和气门也需要定期检查和更换,特别是在高里程的情况下,活塞杆和气门的磨损会导致油耗增加和性能下降。

在高负荷运行时,活塞会受到高温的影响,因此需要注意发动机的冷却系统是否正常工作,以确保发动机和活塞的正常工作。
为了防止活塞的过度磨损,需要注意发动机的正常工作状态,避免发生过度加速和急刹车等行为,以减少活塞的磨损。
定期的维护和保养可以延长活塞的使用寿命,提高其性能和稳定性,同时也可以保证整个机器的正常工作。

●○ 寿命和更换周期 ○●
活塞的寿命和更换周期取决于多种因素,包括活塞的材质、使用条件、工作负载、维护保养等。
一般来说,活塞的寿命应该在发动机的整个使用寿命范围内,但在实际应用中,活塞的寿命往往会受到其他部件的影响,比如气门、活塞环、连杆等的磨损和老化。

根据经验,活塞的更换周期一般建议在60,000公里-100,000公里之间,但具体的更换周期还需要根据车型、车辆使用情况和维护保养情况等综合考虑。
一般来说,有这些情况出现意味着我们要去更换活塞了,如出现裂纹或变形、活塞与缸套之间的间隙过大、活塞杆出现变形或损坏、活塞环磨损或老化。
当然,为了延长活塞的使用寿命,也可以采取一些预防措施,如定期更换机油、清洁活塞和缸套、避免过度加速和急刹车等,这些措施可以减少活塞的磨损,延长活塞的使用寿命。

●○ 历史和发展 ○●
活塞是机械工程中的重要部件之一,它最早的起源可以追溯到公元前2世纪,在那个时代,希腊天文学家托勒密(Ptolemy)发明了一种简单的蒸汽机,其中就包括了类似于活塞的部件。

不过直到18世纪,活塞才开始得到广泛的应用,主要是在蒸汽机、内燃机等各种热力学装置中。
最早的活塞是由木头或黄铜等材料制成的,随着工业革命的到来,人们逐渐开始使用更加耐用和耐热的材料制造活塞,如钢、铸铁、铝合金等。
同时,制造工艺也得到了很大的改进,如采用数控机床、CNC车床等现代化制造工艺,使活塞的精度和质量得到了很大提高。

●○ 作者观点 ○●
随着燃油经济性和环保要求的提高,活塞的设计和制造也在不断地演变和改进,采用镀铬和硬质涂层等技术来增加活塞环的寿命,采用轻量化设计和铝硅合金材料来减轻活塞重量,提高发动机的性能和效率。
随着科技的不断发展,活塞的设计和制造技术将会不断地得到改进和提升,以满足不同领域的需求。

文章欢迎您来评论区参与讨论,获取更多精彩文章,请您点一下关注,感谢您的支持。
大家都在看
-
当钢铁有了灵魂:寻找那些最懂“交互叙事”的机械装置造梦者 上海自然博物馆的"进化树"交互装置前,孩子们通过肢体动作"催化"物种进化过程;大英博物馆的AR导览系统里,观众用手机摄像头"唤醒"沉睡的木乃伊;TeamLab无界美术馆中,花卉随观众脚步次第 ... 机械之最03-17
-
列国鉴丨记者观察:从“南强北弱”到“北升南降”,德国经济版图悄然生变? 新华社柏林3月16日电(记者李函林)德国经济版图长期呈现“南强北弱”的格局,南部地区的高端制造业集群曾长期被视为德国经济增长的主引擎。如今,北部地区依托可再生能源、港口贸易和军工制造加速崛起,南部地区则 ... 机械之最03-17
-
就业信息:重庆大学机械工程——最详细的就业与岗位拆解 按方向+公司+具体岗位+薪资+工作内容,一次性讲透。一、整体概况(先看结论)- 定位:双一流A-、车辆工程全国前7、西南机械龙头、与长安/比亚迪深度绑定- 就业面:汽车、智能制造、机器人、装备制造、航空航天、军工 ... 机械之最03-17
-
机械革命创始人潘春节:以用户为中心,做好每一台电脑 在中国消费电子行业的发展进程中,从来不缺追逐风口的资本玩家,却少有沉下心来扎根实业、以技术自主破局的长期实干家。机械革命(MECHREVO)品牌创始人潘春节,正是这样一位深耕PC行业二十余年,以硬核技术为矛、以 ... 机械之最03-16
-
AI走进了体育场,然后呢? 新华社北京3月15日电(记者肖世尧)今夏的美加墨世界杯,AI战术分析师将帮助各队制定战术;F1赛场边,车迷能通过虚拟现实操控台过一把车手瘾;哈尔滨社区冰场上,智能温控服为孩子们延长训练时长……在不同场景下,A ... 机械之最03-16
-
颜值即正义 五款长在审美点上的硬核轻武 哪一把是你的梦中情枪? 在冰冷的钢铁世界里,武器从来不仅仅是冰冷的杀戮工具。当精密的机械逻辑碰撞上极致的工业设计,这些由钢铁与火药淬炼而成的造物,便升华成了让无数人痴迷的艺术品。有那么五款名枪,它们跨越了时代的硝烟,仅仅凭借 ... 机械之最03-15
-
机械铸魂 铁路传薪——探访北京交通大学大学生机械博物馆 神州高铁模型与穿隧道变位平台运架一体机电影放映机光学经纬仪世界上独一无二的八音盒志愿者亲手复原的纺车美国早期马鞍形车床穿隧道变位平台运架一体机国产自动号码机、美国产打票机双筒望远镜打字机墙手摇计算机群 ... 机械之最03-15
-
从鸡舍到餐桌,一枚让人放心的鸡蛋要经过几道关? 数据来源:国家蛋鸡产业技术体系清晨,百姓餐桌上,白煮蛋冒着热气;餐饮店后厨内,鸡蛋煎炒烹炸出家常美味;烘焙间里,金黄色蛋液被均匀打发……鸡蛋,中国人餐桌上不可缺少的主角之一。而今,中国人的买蛋习惯正在 ... 机械之最03-15
-
记者“养虾”手记:体验五天,发现目前“龙虾”并不适合普通用户 记者使用AI生成。近期,“养龙虾”热潮来袭,不少用户在“FOMO(害怕错过)”情绪下涌入“养虾”市场,甚至不惜花钱也要部署OpenClaw。“龙虾”究竟好不好用?有多“费钱”?是否会泄露隐私?对此,新京报贝壳财经记 ... 机械之最03-15
-
机械五虎谁能称王?清华、哈工大硬刚985,这些名校分化有多猛 如果你家孩子问机械工程要读哪,很多人估计第一反应就是清北、哈工大吧。但真想好报志愿,光看985还是211没啥用,要深挖里面的门道。现在全国能发机械工程博士学位的高校,加起来一共有93所,更别说还有189所学校搞 ... 机械之最03-15
相关文章
- 颜值即正义 五款长在审美点上的硬核轻武 哪一把是你的梦中情枪?
- 机械铸魂 铁路传薪——探访北京交通大学大学生机械博物馆
- 从鸡舍到餐桌,一枚让人放心的鸡蛋要经过几道关?
- 记者“养虾”手记:体验五天,发现目前“龙虾”并不适合普通用户
- 机械五虎谁能称王?清华、哈工大硬刚985,这些名校分化有多猛
- 亮黑伯莱塔92X 意式优雅与战术美学的碰撞 黑曜石般的钢铁艺术
- 2026广西机械类报考:哪所大学就业最香?最新录取数据曝光!
- 夜读丨这只被全网心疼的小猕猴,让我们看到拥抱的意义
- 机械类专业别乱选!12个热门方向全梳理,就业好坏一眼看清
- “龙虾”接管电脑的5分钟里,他的电脑被陌生人连了139次
- 【史海回眸】泰缅“死亡铁路”,日军暴行铁证
- 第51届日内瓦国际发明展开幕 中国参展规模创新高
- 云深处科技的机器马有何特别之处
- 来时的路(一):第一机械工业部,那个管得最宽的“一机部”
- 独家!探秘创下五大“世界之最”的中国深海“蛟龙”
- 火骨纸魂、跃夜成光,五经富烟花火龙非遗重生全记录
- 世界肾脏日
- 商鞅变法,最狠的改革,把弱秦变成战争机器
- 向新求质 三明工业稳健前行
- P08炮兵型 当优雅鲁格遇上长枪管 它是手枪界的“狙击精英”
热门阅读
-
天下第一暗器暴雨梨花针,传说中的唐门暗器做出来了 07-13
-
汽车投诉排行榜前十名汽车 问题最多的就是这些车 07-13
-
世界上最牛挖掘机,甚至可以挖穿一座城市 11-05
-
世界最大核潜艇制造厂,产量远超中美法 11-20
