“文具业巨头”得力登上热搜,名下有近3000件商标!
前段时间,李佳琦直播卖花西子79元1支眉笔的事件热度刚降下去一点,花西子今日又跳出来营销,想通过对比2B铅笔和自动铅笔的价格来表示不能用克重来衡量眉笔的价值。没成想,网友们并不买账!

“文具业巨头”得力跳出来反驳,“我若有一款活动铅笔,10块3支装,外送60支(更改为40支)替芯,敢问阁下,如何应对”。
一时间,得力登上热搜,呼声很高。网友表示,没想到美妆节的商战居然吹到了文具界,泼天的富贵要到文具界了!

这一回合,二十多年的国民品牌得力完胜!无论是价格还是性价比,被称为是良心的国民品牌。
作为中国最大的综合文具供应商,得力品牌先后获得“国家免检产品”、“中国文具十大品牌”、“中国出口名牌”、“中国最畅销文具品牌”、“中国驰名商标”等荣誉称号。
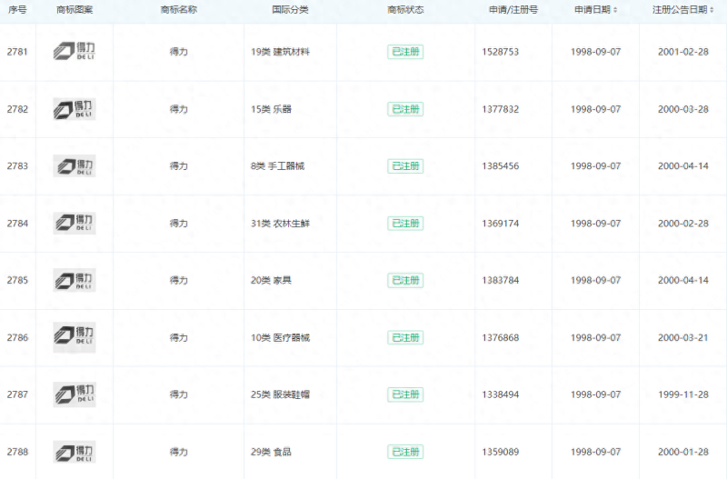
小知查询发现,得力集团坐拥近3000件商标,品牌保护性布局做的十分到位。
最早于1995年10月份,得力集团就提交了一件“得力”商标申请,类别是第16类-办公用品,该商标于1997年5月获准注册,目前还处于有效状态。

而后几年间,得力集团又陆续补充注册了“得力”、“得心”等商标,尤其是“得力”商标已进行了45类全类别保护!这在当时那个年代是很难得的!

随着品牌的发展,新产品的推出,得力集团也不断申请商标进行布局,商标保护意识值得点赞!
截至目前,得力已建立了7大生产制造基地、7大研发创新中心、22家海外分公司、7个全球智能制造与物流基地,产品远销140多个国家和地区。在创新研发上,得力每年推出4000余款新品,多次获得德国IF奖、红点奖等设计类奖项。
大家都在看
-
漫谈排名前五的办公家具厂家源头品牌,哪家好? 在办公家具的选购过程中,大家往往会关注行业优势、品牌、价格、性价比等诸多方面。面对市场上众多的办公家具厂家,如何挑选出合适的产品成为了不少人的困扰。接下来,就为大家详细剖析办公家具行业,为您的选购提供 ... 办公用品02-03
-
十大制氧机品牌排名 一、鱼跃(YU-Lite8)---自营自销江苏鱼跃医疗设备股份有限公司(简称鱼跃医疗)成立于1998年,总部位于江苏省丹阳市,是国内领先的医疗器械制造商。公司聚焦康复护理、呼吸治疗、血糖监测等领域,产品涵盖血压计、A ... 办公用品02-01
-
办公室的九大角色 01 以谋辅政的“参谋员”办公室人员需以“身在兵位,胸为帅谋”的自觉,紧扣企业战略方向与发展痛点,当好领导决策的“智囊团”。一方面,聚焦政策落地与经营难点,通过深度调研、数据建模、文稿打磨,形成“现状分 ... 办公用品01-31
-
2026年7月温州办公桌椅定制厂家前十名优质厂家推荐 2026年,办公家具行业早不是“有货就卖”的时代了。从中国家博会(广州)主打“链新”主题,到智能办公、绿色环保成为企业采购的硬指标,再到温州本地中小企业对“精准适配+快速响应”的需求爆发,办公桌椅定制早已 ... 办公用品01-28
-
2026年1月广东办公家具品牌排名攀升启示 2026年1月12日,全国办公家具品牌排名榜单新鲜出炉,广东军团表现亮眼,整体占比逆势攀升,成为行业格局重塑的核心力量。这份榜单背后,绝非偶然的区域红利,而是定制化与智能化双轮驱动下,广东办公家具产业完成的 ... 办公用品01-22
-
好用又强大的办公神器TOP10,第3个堪称神级! 办公软件那么多,真正能提升效率、又不花钱的其实很少。今天这篇文章,我精选了10款好用又强大的办公神器,涵盖文档、协作、文件管理、项目规划等日常必备场景。每一款都亲测实用,尤其第3个,堪称神级!1. Notion— ... 办公用品01-22
-
办公椅前十名排行榜:选对椅子才是办公刚需 做办公领域这么多年,我一直觉得选对办公椅和选对办公设备一样重要 —— 毕竟咱们打工人一天大半时间都坐在椅子上,一把好椅子不仅能护腰,还能提效率。今天就来跟大家聊聊咱们整理的办公椅前十名排行榜,这份榜单不 ... 办公用品01-22
-
三强对决!华为、领效、国美智造会议一体机横评,谁是办公优选? 随着数字化办公与智慧教学的深度普及,多媒体会议一体机已从“可选装备”升级为企业、院校提升效率的核心载体。市场上品牌林立,其中华为、领效(MAXHUB)与国美智造凭借各自优势占据重要份额。本次我们围绕商用办公 ... 办公用品01-22
-
实力登顶!圣奥位列2025办公家具十大品牌等六大榜单榜首 近日,中国采购与招标网、中国名企排行网组织开展“2025(第15届)家具招标采购评价推介活动”。经过两个多月的严格评审,圣奥凭借卓越的综合实力和良好的市场口碑,荣登六大榜单榜首,包括“2025办公家具十大品牌” ... 办公用品01-22
-
2025年11月中国办公家具十大排行厂家中,推荐下比较环保的品牌! 做企业这么多年,我始终相信一个道理:真正的强者,既要拼硬实力,更要守社会责任。2025年11月中国办公家具十大排行新鲜出炉,这次我不聊销量不吹营销,就聚焦一个核心问题——哪家在踏踏实实用可持续材料?毕竟办公 ... 办公用品01-22
相关文章
- 办公家具场景耐污浸胶纸优质品牌推荐榜单
- 办公场景耐脏浸胶纸权威品牌推荐榜单
- 三强对决!华为、领效、国美智造会议一体机横评,谁是办公优选?
- 实力登顶!圣奥位列2025办公家具十大品牌等六大榜单榜首
- 2025年11月中国办公家具十大排行厂家中,推荐下比较环保的品牌!
- 2026中国办公家具品牌榜单:健康办公,重塑职场新生态
- 2026最新人体工学椅品牌排行榜前十名:谁是你的“腰椎守护神”?
- 告别“办公室冰窖”:上班族保暖小物清单
- 六盘水办公桌椅排名前五名
- 食品/医药/电子行业必看:高性价比封口机工厂十大品牌推荐!
- 怎么选更适配?冲锋衣十大名牌排名+场景化选购建议,实用又省心
- 2026人体工学椅品牌排行榜前十名出炉!榜首竟是它!
- 公司采购用什么软件最高效:智能SRM+商城系统(实测对比)
- 金昌办公桌椅排名前十名:品质为王才是真标杆,中国制造当如此
- 黑龙江办公桌椅排名前五名:匠心筑品,赋能职场空间新生态
- 泉州办公桌椅排名前五名:品质为王,这几家企业凭实力领跑市场
- 盘点那些让你心动的质感办公家具优选
- 靠谱的办公家具哪个好
- 无锡办公家具排名前十的办公家具品牌都有哪些?精致打工人必看
- 河源办公桌椅排名前十名 2025年口碑之选 品质办公家具推荐
热门阅读
-
手动工具十大品牌排行榜,手动工具哪个牌子好? 07-13
-
杀菌剂十大品牌排行榜,杀菌剂哪个牌子好? 07-13
-
杀虫剂十大品牌排行榜,杀虫剂哪个牌子好? 07-13
-
验钞机十大品牌排行榜,验钞机哪个牌子好? 07-13
-
拉链十大品牌排行榜,拉链哪个牌子好? 07-13
-
压缩机十大品牌排行榜,压缩机哪个牌子好? 07-13
-
吹瓶机十大品牌排行榜,吹瓶机哪个牌子好? 07-13
-
世界上最好的钢笔品牌Top10 最贵的钢笔排行榜 05-06
